Proposal of a Solar Thermal Power Plant at Low Temperature Using Solar Thermal Collectors
Patrick Lindecker
Maisons-Alfort, France.
DOI: 10.4236/epe.2022.148019   PDF   HTML   XML   64 Downloads   492 Views  

Abstract

To this day, only two types of solar power plants have been proposed and built: high temperature thermal solar one and photovoltaic one. It is here proposed a new type of solar thermal plant using glass-top flat surface solar collectors, so working at low temperature (i.e., below 100°C). This power plant is aimed at warm countries, i.e., the ones mainly located between -40° and 40° latitude, having available space along their coast. This land based plant, to install on the seashore, is technologically similar to the one used for OTEC (Ocean Thermal Energy Conversion). This plant, apart from supplying electricity with a much better thermodynamic efficiency than OTEC plants, has the main advantage of providing desalinated water for drinking and irrigation. This plant is designed to generate electricity (and desalinated water) night and day and all year round, by means of hot water storage, with just a variation of the power delivered depending on the season.

Share and Cite:

Lindecker, P. (2022) Proposal of a Solar Thermal Power Plant at Low Temperature Using Solar Thermal Collectors. Energy and Power Engineering, 14, 343-386. doi: 10.4236/epe.2022.148019.

1. Introduction

1.1. Goal of the Presentation

The goal of this article is to describe a new type of power plant, taking its source in the difference in temperatures between hot water heated, up to about 77˚C, by glass-top flat surface solar collectors and the surface sea (or ocean) water. So a pipe is used to extract sea water from low depth. Another pipe forces the water back to the sea near the surface.

The power generation plant itself is similar to an OTEC plant.

In Figure 1, a simplified diagram of the plant layout is presented.

Figure 1. Solar thermal power plant layout diagram.

The plant is installed on the seashore. A large ground surface must be available to install solar surface collectors. A road and a power grid close to the plant must be available. It will work in countries where the global horizontal irradiance is good, i.e., countries located at low latitude (let’s say between −40˚ to 40˚) and having a high clearness index.

A close domain is the “Ocean Thermal Energy Conversion” (OTEC), for which energy is extracted between the warm surface water (about 26˚C) and the cold water (about 4˚C) at about 1000 m depth. The final difference of temperatures for the thermodynamic cycle is around 11˚C, whereas for the way proposed here, the mean difference is higher and around 42˚C.

SI units, multiples (“bar” for example) and sub-multiples (“mm” for example) are only used. “bar” is often used for the pressure rather than Pa, with 1 bar = 1E5 Pa.

In this document, all pressure values are absolute ones (i.e., no gauge pressures) and all temperatures are, by default, in ˚C (Celsius degrees).

This domain could be called “WATEC” for “Water—Atmosphere Thermal Energy Conversion”, by reference to “OTEC”.

1.2. Method of the Work

Step 1: The proposed power plant is first described, at the level of principle, in Section 2.

Step 2: The two main cycles (Rankine and Claude) are studied in Section 3. The goal of this chapter is to determine, with a simple equation, the net efficiency ηnet (net electric power/heat transfer power) of both cycles, according to the hot and cold sources’ temperatures.

Step 3: For the solar collectors (Section 4), it is determined the thermal collector efficiency ηco(thermal power generated by the collectors/horizontal irradiation power received by the collectors).

Step 4: From these two efficiencies (ηnet and ηco), in Section 5 it is determined the ideal mean hot temperature at collectors output (Thi). Finally, it is determined the mean net electric power delivered by 1 m2 of a collector.

Step 5: From the mean values calculated before, it is described and assessed:

• The way to produce continuously by means of water storage (Section 6),

• The way to configure solar collectors (Section 7),

• The way to produce desalinated water (Section 8).

Step 6: From all the results found in previous chapters, in Section 9, it is assessed an example of the solar power plant whose goal would be to generate a net electric power of 2.9 MW and 350 tons of desalinated water daily.

Moreover, it is proposed, in Appendix, a small utility program designed to roughly estimate the interest of such plant for a given place.

1.3. List of the Notations and Variables Used in the Article

Notations

“§” for “subsection”.

“≈” for “about”.

“~” for “proportional”.

“[x]” for “reference number x”, the references list being available at the end of this article.

f(x)” for “function of x”.

List of the main variables:

ΔTh Difference between Thi and T3 (fixed to 5.46˚C).

ΔTc Difference between T4 and Tci (fixed to 6.75˚C).

ΔTco Difference between Tm and Ta.

ηnet Net thermodynamic efficiency (=Pen/Ph).

ηco Thermal collector efficiency.

Cli Clearness index (from 0 to 1, in %).

Cp Specific heat capacity at constant pressure in J/(kg∙˚K).

Dp Daylight period (hour).

GHI Global horizontal irradiance in kWh/m2.

h Hour.

Ier Horizontal irradiance at the top of the atmosphere (W/m2).

Ir Horizontal irradiation power (W/m2).

Lv Heat of vaporization (J/kg).

Mt Mass of water in the tank (in kg, with Mt = Mt1 × Sco).

Mt1 Mass of water in the tank, for 1 m2 of heat-absorbing surface collector (in kg/m2).

P1 Liquid fluid pressure at the condenser outlet.

P2 Liquid fluid pressure at the compressor (circulation pump) outlet.

P3 Steam pressure at the turbine inlet.

P4 Saturated fluid pressure at the turbine outlet.

Peadu Electric power consumed by the desalination unit (in W, Peadu = Peadu1 × Sco).

Peadu1 Electric power consumed by the desalination unit, for 1 m2 of heat-absorbing surface collector (W/m2).

Pea Difference between the rough and the net electric power (in W, Pea = Perough-Pen).

Pen Net electric power provided to the grid net (in W, Pen = Pen1 × Sco).

Pen1 Net electric power provided to the grid net, for 1 m2 of heat-absorbing surface collector (in W/m2).

Perough Rough electric power generated by the alternator (W).

Ph Heat power consumed from the hot source by the thermal energy conversion unit (in W, Ph = Ph1 × Sco).

Ph1 Heat power consumed from the hot source by the thermal energy conversion unit, for 1 m2 of heat-absorbing surface collector (in W/m2).

Phav Mean available heating power (in W, Phav = Ph + Phcodu = Phav1 × Sco).

Phav1 Mean available heating power, for 1 m2 of heat-absorbing surface collector (in W/m2).

Phco Heat power generated by a heat-absorbing surface collector Sco (in W, Phco = Phco1 × Sco).

Phco1 Heat power generated by 1 m2 of heat-absorbing surface collector (in W/m2).

Phcodu Heat power consumed from the hot source by the desalination unit (in W, Phcodu = Phcodu1 × Sco).

Phcodu1 Heat power consumed from the hot source by the desalination unit, for 1 m2 of heat-absorbing surface collector (in W/m2).

Qmdcw Daily production of condensed water (in kg/day/m2).

Rcw Ratio between the heating power used for the desalination unit (Phcodu) and the available heat power (Phav).

Sco Heat-absorbing surface collector (m2).

T1 Liquid fluid temperature at the condenser outlet.

T2 Liquid fluid temperature at the compressor (circulation pump) outlet.

T3 Steam temperature at the turbine inlet.

T4 Saturated fluid temperature at the turbine outlet.

Ta Mean ambient air temperature for the daylight period.

Tci Cold temperature (at the condenser inlet) coming from the cold source (ocean).

Tco Temperature (at the condenser outlet) returning to the cold source (ocean).

Thi Hot temperature (at the steam generator or evaporator inlet) coming from the hot source.

Tho Temperature (at the steam generator or evaporator outlet) returning to the hot source.

Tm Mean water temperature inside the collectors.

Vt Volume of water in the tank (in m3, with Vt = Vt1 × Sco).

Vt1 Volume of water in the tank, for 1 m2 of heat-absorbing surface collector (in m3/m2).

The other variables are explained locally, but their mantissa (first letter) is, in general, generic:

Δ (Delta) for a difference.

ρ for a mass density in kg/m3.

η for an efficiency (between 0 and 1).

m or M for a mass (kg).

P for a pressure in Pa or in bar.

Px for a power (W) or a power by surface unit (W/m2), with the “x” relative to the source, as it can be a heat transfer rate from a hot or a cold source, or an electric power.

Qm for a mass flow rate (kg/s).

Qv for a volume flow rate (m3/s).

s for specific entropy in J/(˚K∙kg).

S for a surface area (m2).

t for time (s).

T for a temperature in ˚C (note that ˚K = ˚C + 273.15).

v for the specific volume in m3/kg.

Several suffixes are used in the variables naming:

1 for 1 m2 of heat-absorbing surface collector (for power variables only).

a for “auxiliaries”.

av for “available”.

c for “cold” (sea water through the condenser).

co for (solar thermal) “collectors”.

cw for “condensed water” (i.e. desalinated water).

d for “daily”.

du for “desalination unit”.

e for “electric”.

h for “hot”.

i for “input” or “inlet”.

m for “mass” or for “mechanic”.

n for “net”.

o for “output” or “outlet”.

r for “rough”.

s for “solar” (thermal collectors field).

t for (fresh water) “tank”.

v for “volume”.

2. Principle and General Working

2.1. Generalities and Concerned Areas

In different zones of the world, there are relatively great differences in temperature between the ambient air and the sea or ocean surface water for coastal areas. Moreover, if the latitude is low and the luminosity is high, the global horizontal irradiance is good, i.e., let’s say superior or equal to 1500 kWh/m2 per year. See [1] for estimates of the global horizontal irradiance in different places of the world. A priori, in many zones of the world, conditions would be favorable for such solar thermal power plants, i.e., part of Africa, Oceania and South America, Central America, south of California and South Asia coasts.

A high mean ambient air permits to heat water by means of solar collectors with high efficiency.

Due to the difference in temperatures between the hot water at solar collectors output and the ocean temperature, it can be envisaged to set up plants generating electricity through a thermodynamic cycle.

See Figure 2, for the principle.

Below, in Table 1, is an example taken from Nouakchott, capital of Mauritania where the global horizontal irradiance is very high, between 2150 and 2200 kWh/m2 per year according to [2].

The ambient air and ocean temperatures (in ˚C) are issued from [3] and [4]. This example is very favorable because the mean ambient air temperature is high and the ocean is relatively cold.

Note that the surface ocean temperature and its temperature amplitude throughout the year depend on the latitude but also on the oceanic currents (cold or warm). Of course coasts swept by cold current are favorable. See the Figure 3 below.

Figure 2. Solar thermal power plant principle diagram.

Figure 3. Ocean surface currents.

From Wikipedia, Author Dr. Michael Pidwirny, Public domain, U.S. government publication.

Table 1. Temperatures at Nouakchott.

From now on, this article will concentrate on the Nouakchott area, which is very favorable for such a type of power plant.

2.2. General Working

Based on Figure 1 where a simplified diagram of the plant layout is presented, the general working principle is the following:

• Fresh water at about 71.2˚C extracted from the fresh water tank is heated by the solar irradiation inside the solar collectors. Then, the heated water at about 76.7˚C returns to the fresh water tank.

This circuit is only in operation for the daylight period (cf. Section 6).

• The fresh water at 76.7˚C is pumped towards the thermal energy conversion unit where it leaves heat to the refrigerant through a steam generator or an evaporator according to the cycle used (cf. Section 3). It is the “hot source” of the thermodynamic cycle.

• In the thermal energy conversion unit, due to this hot source, steam is produced which makes work a turbine-generator group generating electricity. The steam is condensed in a condenser cooled by the cold sea water (“cold source”).

• The sea water is filtered and pumped towards the condenser to cool the steam. Afterwards, the sea water returns to the sea. The sea water is pumped at a depth of about 20 or 30 m so to have an approximate constant sea temperature and to be sufficiently below the swell trough. The sea water is rejected just below the surface but far away from the water intake (at least 200 m, according to the current) to avoid to re-pump the rejected sea water.

3. Types of Thermal Energy Conversion Units and Determination of the Thermodynamic Efficiency of These Units

3.1. Generalities about the Thermal Energy Conversion Units

See the location of the “Thermal energy conversion unit” in Figure 1. It works between the hot and the cold source to provide mechanical work which is transformed into electricity.

There are two types of units used in OTEC technology and used here:

• One uses ammonia as a working fluid and works at relatively high pressure (i.e., around 8 bar) in a closed cycle. This cycle is called “Rankine” or “Rankine without superheating” or “Anderson”. It will be called “Rankine” in what follows.

• The other uses sea water as a working fluid and works in an open cycle at low pressure (i.e., under vacuum). This cycle is called “Claude”. Note that for the proposed plant, the working fluid (refrigerant) will be fresh water and not sea water, this to avoid salt deposit inside the solar collectors.

For information about OTEC, see [5] and/or [6].

The goal here is to develop a simple equation to determine the net thermodynamic efficiency “ηnet” of these units, function of:

• The hot temperature of the hot source called Thi

• The cold temperature of the cold source called Tci.

Let’s call “Pen” the net electric power provided to the grid net and “Ph” the heat power consumed from the hot source. So

η n e t = P e n P h (1)

3.2. Diagram of the Thermal Energy Conversion Unit for a Rankine Cycle

The diagram of a machine based on the Rankine closed cycle is proposed below, in Figure 4. The refrigerant is usually ammonia (NH3, R717).

Note 1: in Figure 4, “P” is worth for “Pressure”, “v” for “specific volume”, “T” for “Temperature” and “s” for “specific entropy”.

Figure 4. Rankine closed cycle using ammonia as working fluid.

Note 2: the cycle is shown as ideal. However, there is irreversibility; for example the compression and the expansion are not really isentropic, there are losses of heat along the cycle, etc.

So the real efficiency is not as well as the ideal efficiency.

Compared to a true Rankine cycle, in Figure 4, it misses equipment such as a separator, different tanks and pumps, different systems relative to the turbine and the compressor, steam tapping from the turbine directed towards a heater, etc. It is not necessary to take into account this equipment as it will be indirectly considered in the real efficiency estimate (see §3.3).

Note: for this chapter and for all the calculations in this document, the thermodynamic data for R717 (NH3) comes from [7]. Note that the sole saturated state is given, so the enthalpy and density of the liquid in non-saturated state is taken from the liquid in saturated state considering the sole temperature. This introduces a very small error. The thermodynamic data for water comes from [8].

3.3. Determination of the Net Rankine Thermodynamic Efficiency

To determine this net efficiency, we are going to consider the study of an OTEC Rankine unit done by Creusot-Loire in 1980 and exposed in [6] pages 33 and 34. The previous Figure 4 represents Figure 8 of [6] (page 34), from which the temperatures and pressures can be extracted:

Tci = 4.8˚C, Tco = 9.05˚C.

TcoTci = 4.25˚C, which depends on the condenser type, is supposed constant.

Thi = 26.8˚C, Tho = 23.94˚C (so ThiTho = 2.86˚C).

P1 = 6.45 bar, T1 = 11.32˚C.

P2 = 8.96 bar, T2 = T1 + εT1.

P3 = 8.96 bar, T3 = 21.34˚C, with P3 = f(T3) in saturated state.

P4 = 6.50 bar, T4 = 11.55˚C, with P4 = f(T4) in saturated state.

• The fresh water volume flow rate Qvh is equal to 60 m3/s so, with a density ρh = 997 kg/m3 at 25˚C, the mass flow rate Qmh = 59,820 kg/s.

• The sea water volume flow rate Qvc is equal to 39 m3/s so, with a density ρc supposed equal to ρc = 1000 kg/m3 (the salinity not being given), the mass flow rate Qmc = 39,000 kg/s.

The heat transfer rate Ph (in W) from the hot source is equal to

P h = Q m h × C p × ( T h i T h o ) (2)

with Cp the specific heat capacity = 4200 J/(kg∙˚K) at 25˚C. So Ph = 7.186E8 W.

The theoretical Carnot efficiency ηCarnot between the high temperature at the steam generator output (T3 in ˚K) and the low temperature at the condenser temperature input (T4 in ˚K) is equal to:

η C a r n o t = T 3 T 4 T 3 = 3.324 E 2 (3)

The rough electric power Perough generated is equal to 15E6 W according to [6]. So the rough efficiency ηrough of this cycle is equal to

η r o u g h = P e r o u g h P h = 2.087 E 2 (4)

(which is a standard value for this OTEC machine).

ηrough can be expressed as

η r o u g h = η C a r n o t × η R a n k i n e × η M a c h i n e (5)

(see [6] page 28).

With ηRankine the Rankine efficiency (compared to the Carnot efficiency).

ηMachine is mainly the efficiency of the turbo generator but more generally the machine efficiency compared to an ideal Rankine efficiency. Here

( η R a n k i n e × η M a c h i n e ) = η r o u g h η C a r n o t = 0.628 (6)

So η r o u g h = η C a r n o t × 0.628

Now according to [6], the net electric power Pen generated is equal to 10E6 W. The difference (Pea) between the rough and the net power

P e a = P e r o u g h P e n = 5E6 W (5 MW) (7)

corresponds to the electric power mainly (i.e., 4 MW) consumed by the pumps making circulate the sea water and the fresh water. The rest of these 5 MW (about 1 MW) is consumed by the compressor and the different pieces of equipment of the plant (see §3.3.1 below).

It will be supposed that:

• The thermal performance of the steam generator and the condenser, as exchangers, will be constant whatever the heat transfer rate Ph. This means that the difference in temperature ΔTh = ThiT3 = 5.46˚C and ΔTc = T4 − Tci = 6.75˚C are supposed constant. So:

T 3 = T h i ( T h i T 3 ) = T h i Δ T h = T h i 5.46

T 4 = T c i + ( T 4 T c i ) = T c i + Δ T c = T c i + 6.75

With Thi and Tci in ˚C, η C a r n o t = T h i 5.46 T c i 6.75 T h i 5.46 + 273.15

η C a r n o t = T h i T c i 12 .21 T h i + 267.69 (8)

So

η r o u g h = η C a r n o t × 0.628 = 0 .628 × T h i T c i 12 .21 T h i + 267.69 (9)

Pea is proportional to Ph, because the different pumping powers (see §3.3.1 below) mainly depend on the volume flow rates Qvh and Qvc, which are proportional to Ph (for a supposed constant pressure drop). Indeed Ph is proportional to:

○ “Qmh” because P h = Q m h × C p × ( T h i T h o ) .

Q m h = ρ h × Q v h (10)

with ρhsupposed constant, so P h ~ Q v h

○ “Qmc” because P h P e r o u g h Q m c × C p × ( T c o T c i ) with Perough very inferior to Ph and proportional to Ph ( P e r o u g h P h = η r o u g h ). Q m c = ρ c × Q v c withρc supposed constant, so P h ~ Q v c (and incidentally Q v c ~ Q v h at ηrough constant)

So from Pea = 5 MW at Ph = 7.186E8 W, for a given Ph,

P e a = P h × ( 5 E 6 7.186 E 8 ) = 6.958 E 3 × P h (11)

So for a given Ph,

P e n = P h × η r o u g h P e a = P h × η r o u g h P h × 6.958 E 3 = P h × ( η r o u g h 6.958 E 3 )

P e n = P h × ( 0.628 × ( T h i T c i 12.21 ) T h i + 267.69 6.958 E 3 ) (12)

Finally the net efficiency ηnet is equal to η n e t = P e n P h so:

η n e t = 0.628 × ( T h i T c i 12.21 ) T h i + 267.69 6.985 E 3 (13)

with Thi and Tci in ˚C.

Note: for OTEC plants where the difference of temperature ΔThc between warm and cold sea temperatures (ΔThc = Thi- Tci) is about 22˚C, 12.21˚C represents a loss of a bit more than half of the initial ΔThc, which is relatively high. This relative loss in the proposed plant is only about the half due to a higher ΔThc (about 42˚C).

Estimation of the Different Components of Pea

It is interesting to calculate how Pea (=5 MW) is composed.

About the working fluid (refrigerant) circuit

Let’s call Qmwf the working fluid mass flow rate. The heat transfer of the steam generator from the hot source to the working fluid is such that P h = Q m w f × ( H s v ( T 3 ) H l ( P 2 , T 2 ) ) , with Hsv(T3) the saturated steam enthalpy function of T3 and Hl(P2, T2) the liquid enthalpy function of P2, T2.

So

Q m w f = P h H s v ( T 3 ) H l ( P 2 , T 2 )

In our example, Qmwf ≈ 585 kg/s. So with a liquid volume mass ρwf ≈ 622.8 kg/m3, the liquid volume flow rate:

Q v w f = Q m w f ρ w f = 0.939 m 3 / s (14)

for the example.

The mechanical power Pmwf necessary for the compressor (Figure 4) to pump the working fluid in liquid state is equal to

P m w f = Q v w f × ( P 2 P 1 ) 2.36 E5 W (15)

for the example.

About the fresh water circuit

It is supposed that the total pressure drop ΔPh through the fresh water circuit (hot source) is equal to 0.3 bar. So, the mechanical power Pmh necessary for the fresh water circulation pump (Figure 1) to pump the fresh water through the steam generator is equal to: P m h = Q v h × Δ P h = 1.80 E6 W for the example.

About the sea water circuit

It is supposed that the pressure drop ΔPc through the sea water circuit (cold source) is equal to 0.4 bar. So, the mechanical power Pmc necessary for the sea water circulation pump (Figure 1) to pump the sea water through the condenser is equal to: P m c = Q v c × Δ P c = 1.56 E6 W for the example.

Electric pumping power (Pep)

The sum of these 3 mechanical pumping powers is equal to P m p = P m w f + P m h + P m c = 3.60 E6 W

Given a global efficiency of 0.85 for these pumps, the expected electric pumping power Pep is equal to: P e p = P m p 0.85 = 4.23 E6 W .

Reminder power (Per)

The reminder power equal to P e r = P e a P e p = 0.77 E6 W for the example, is intended to the different auxiliaries, control, light of the plant, etc.

Note: the Pmp power (and so Pep and Pea) could be reduced by increasing the expected pipes diameter (and their cost) and so decreasing the pressure drop. The Pea power limited to 5 MW for Ph = 7.186E8 W must be considered as a technical-economical objective.

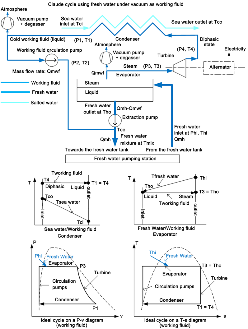
3.4. Diagram of the Thermal Energy Conversion Unit for a Claude Cycle and Determination of the Claude Thermodynamic Efficiency

The diagram of a machine based on the Claude cycle is proposed below in Figure 5.

The working fluid circuit is connected by the fresh water circuit (in broad lines) instead of the sea (in OTEC plants). It is considered as an “open-cycle” contrary to the Rankine “closed-cycle” for which the same fluid circulates along the cycle.

The working fluid is condensed water under vacuum because under the pressure of one atmosphere, the boiling temperature is 100˚C, superior to the hot temperature targeted (T3 around 71˚C).

As for the Rankine cycle, this one is shown as ideal. Now, the cycle as shown is a pseudo cycle because the fluid circulation in the equipment is not always the same, as the fresh water entering the evaporator can become working fluid in the form of steam or can return to the fresh water tank. However, the matter being the same, the cycle can be represented as it was a closed cycle, so with the same flowrate all along the cycle.

Figure 5. Claude cycle using fresh water under vacuum as working fluid.

Let’s suppose that the temperatures of this Claude cycle be the same as the Rankine cycle (§3.2), except for Tho which is now equal to T3, this to keep the same final efficiency.

Tci = 4.8˚C, Tco = 9.05˚C.

TcoTci = 4.25˚C, which depends on the condenser type, is supposed constant.

Thi = 26.8˚C, Tho = 21.34˚C (=T3), Phi is a bit superior to P3, to permit a flow rate (a precise determination being outside the scope of this article).

T1 = 11.32˚C, P1 ≈ P4.

T2 = T1 + εT1 (P2 is roughly equal to P3 + ΔPwf to compensate the pressure drop through the pipes leading to the fresh water tank, a precise determination of P2 being outside the scope of this article).

Thi = 26.8˚C (as for the Rankine cycle).

T3 = Thi − (Thi − T3) = Thi − 5.46 = 21.34˚C (as for the Rankine cycle), so P3 = 0.0254 bar, with P3 = f(T3) in saturated state.

T4 = 11.55˚C so P4 = 0.0136 bar (P4 = f(T4) in saturated state).

The heat transfer rate Ph (in W) from the hot source is the same as for the Rankine cycle (§3.2), equal to Ph = 7.186 E8 W.

Note: the altitude of the equipment (evaporator, turbine and condenser) under vacuum (P3 or P4) is such that the barometric static pressure of the working fluid corresponds to the vacuum pressure (so around 9 m).

In broad blue lines on Figure 5, it is symbolically displayed the evolution of the fresh water exchanging heat to make boil part of the flowrate. So the fresh water transfers, per second, the heat power.

P h = Q m h × ( H l ( T h i , P h i ) H l s ( T h o ) ) Q m h × C p × ( T h i T h o ) (16)

with Hl for the liquid enthalpy in non saturated state and Hls for the liquid enthalpy in saturation state.

The steam flowrate Qmwf will be such that P h = Q m w f × L v ( T h o )

with Lv the heat of vaporization at Tho.

So

Q m h × C p × ( T h i T h o ) Q m w f × L v ( T h o ) (17)

In our example, Thi = 26.8˚C, Tho = 21.34˚C, Lv(21.34˚C) = 2451 kJ/kg and Cp = 4200 J/kg.

It can be deduced that

Q m h Q m w f L v ( T h o ) C p × ( T h i T h o ) = 106.9 (18)

So a big flow rate of hot water is necessary to produce a small flow rate of steam.

At the outlet (i.e. towards the fresh water tank), it appears a mixture at Tmix (Figure 5), so that (considering a constant Cp):

( Q m h Q m w f ) × C p × T h o ) + ( Q m w f × C p × T 2 ) = Q m h × C p × T m i x

So

T m i x = ( Q m h Q m w f ) × T h o + Q m w f × T 2 Q m h (19)

For the example, with Q m h Q m w f = 106.9 , Tmix = 21.25˚C which is very close to Tho (21.34˚C).

To be equivalent to the Rankine cycle, the total heat transfer (Ph) must be equal to 7.186E8 W, for our example. The heat is extracted from the evaporator and from the working fluid circuit, so that:

P h = Q m h × C p × ( T h i T m i x ) and Q m h = P h C p × ( T h i T m i x ) (20)

For our example, Qmh = 30,807 kg/s, so equal to about the half of the Qmh necessary for the Rankine cycle (Qmh = 59,820 kg/s).

So the volume flow rate Q v h = Q m h ρ h = 30.9 m 3 / s with ρh = 998.3 kg/m3.

Then Q m w f = Q m h 106.9 = 288.2 kg / s

The volume flow rate pumped by the extraction pump (Figure 5) will be equal to:

Q v e p = Q m h Q m w f ρ h = 30.6 m 3 / h (21)

The Claude cycle is thermodynamically very close to the Rankine cycle, the slight difference being between the different behavior of the steam generator and the evaporator. The temperatures across the turbine (T3 and T4) being the same for both cycles, it is considered that Pen, Pea, ηCarnot, ηrough and ηnet are the same as the ones calculated for the Rankine cycle (cf. §3.3).

Consequently, the net efficiency ηnetcalculated for the Rankine cycle (cf. §3.3) is applicable to the Claude cycle:

η n e t = 0.628 × ( T h i T c i 12.21 ) T h i + 267.69 6.985 E 3 (13)

with Thi and Tci in ˚C.

Estimation of the Different Components of Pea

As for the Rankine cycle (§3.3.1), it is interesting to calculate how Pea (=5 MW) is composed.

About the working fluid circuit towards the fresh water tank

In our example, Qmwf = 288.2 kg/s. So with a liquid volume mass ρwf = 1000 kg/m3, the liquid volume flow rate: Q v w = Q m w f ρ w f = 0.288 m 3 / s for the example.

It is supposed that the pressure drop ΔPwf through the pipes leading to the fresh water tank through the Tee (see Figure 5) is equal to 0.15 bar. Because P2 ≈ P3 + ΔPwf, the mechanical power Pmwf necessary for the working fluid circulation pump (Figure 5) to pump the working fluid in a liquid state is equal to P m w f = Q v w f × ( P 2 P 1 ) = Q v × ( Δ P w f + ( P 3 P 1 ) ) = 4663 W for the example, which is very weak, compared to the compressor in the Rankine cycle (§3.3.1).

About the fresh water circuit towards the fresh water tank

It is supposed that the pressure drop ΔPho through the pipes leading to the fresh water tank through the Tee (see Figure 5) is equal to 0.15 bar. The mechanical power Pmho necessary for the extraction pump (Figure 5) to pump the fresh water is equal to: P m h o = Q v e p × Δ P h o = 4.59 E5 W for the example.

About the fresh water circuit from the fresh water tank

It is supposed that the pressure drop ΔPhi through the pipes coming from the fresh water tank towards the evaporator is equal to 0.15 bar. The mechanical power Pmhi necessary for the fresh water circulation pump (Figure 1) to pump the fresh water is equal to: P m h i = Q v h × Δ P h i = 4.63 E5 W for the example.

About the sea water circuit

The mechanical power Pmc necessary for the sea water circulation pump (Figure 1) to pump the sea water through the condenser is the same as for the Rankine cycle (§3.3.1) (i.e., Pmc = 1.56E6 W for the example).

Electric pumping power (Pep)

The sum of these 4 mechanical pumping powers is equal to P m p = P m w f + P m h o + P m h i + P m c = 2.49 E6 W

Given a global efficiency of 0.85 for these pumps, the expected electric pumping power Pep is equal to:

P e p = P m p 0.85 = 2.92 E6 W .

Power for vacuum (Pev)

The necessary vacuum pumps and degassing units to trap dissolved gasses are supposed to consume Pev = 0.14% of Ph, so 1 MW in the example.

Reminder power (Per)

The reminder equal to P e r = P e a P e p P e v = 1.08 E6 W for the example, is intended to the different auxiliaries, control, light of the plant, etc.

3.5. Comparison of the Rankine and the Claude Cycles

3.5.1. Advantages of the Rankine Cycle Compared to the Claude Cycle

• The Rankine cycle is better mastered than the Claude cycle, due to the various OTEC studies and small plants built. Note that none OTEC big plants (i.e., net power ≥ 100 MW) has been built to date.

• In the OTEC domain, the turbine is much smaller and much less costly than for a Claude cycle. The difference of pressure across the turbine (P3 − P4) is about 2.4 bar for a Rankine cycle versus 0.015 bar for a Claude cycle, which explains the different of size.

Now for the proposed plant, the expected mean temperatures T3 and T4 will respectively be equal to 71˚C and 29˚C. So the different expected pressures will be equal:

○ For a Rankine cycle (R717 ammonia): P3 = 33.9 bar, P4 = 11.3 bar, P3 − P4 = 22.6 bar

○ For a Claude cycle (water under vacuum): P3 = 0.325 bar, P4 = 0.0400 bar, P3 − P4 = 0.285 bar

Compared to OTEC turbines, it is obvious that, in both cases, the turbines will be much smaller (and cheaper) due to the increase of the difference of pressure across the turbine (P3 − P4), by a factor of 9 for the Rankine cycle and 19 for the Claude cycle.

• In the Rankine cycle there is no need to create vacuum as for the Claude cycle, for which it is necessary to add vacuum pumps and degassing units to trap dissolved gasses and mainly air. However, in the OTEC domain, the minimum vacuum pressure is equal to about 1300 Pa (P1 or P4). For the proposed plant, the mean saturation pressure P4 is equal to about 4000 Pa, which is less penalizing.

3.5.2. Advantages of the Claude Cycle Compared to the Rankine Cycle

• With water as a working fluid, there is no toxic risk as with ammonia. Even if the ammonia is well mastered by industry, the population could be reluctant toward this gas.

• The cost of an evaporator is very inferior to the cost of a steam generator, due to a much smaller contact surface needed (see [6] p 73).

• In the OTEC domain, the total cost of a Claude thermal energy conversion unit is a bit cheaper than the Rankine one according to [6] p 73.

• In fact, the evaporator needs a difference of temperature ThiT3 of about 3.5˚C versus 5.5˚C for a steam generator, so the rough efficiency of a Claude cycle is better for an OTEC unit: 2.7% versus 2.11%, according to [6] page 70. However, for the plant proposed, this gain would be very small due to the yet relatively elevated difference in temperature T3 − T4 (about 42˚C).

• The pressure being much smaller for the Claude cycle compared to the Rankine cycle (<1 bar versus 34 bar as given in §5.3), the mechanical sizing of pipes and equipment will probably be simpler and the cost weaker, due to a smaller thickness of the metal layer.

3.5.3. Common Advantage and Disadvantage

• For the sole thermal energy conversion unit, it is obvious that for the same electric power delivered, the cost will be much smaller than the cost of such a unit in the OTEC domain, simply because the net efficiency ηnet is roughly 5 times better. It means that for the same heat power from the hot source, it is delivered to the grid net, an electric power 5 times higher than an OTEC unit.

• Now there will be the same problem of microbial fouling of the condenser as for all the plants (OTEC, nuclear…) located on the seashore. See for example [5] for more details. It is a classical problem solved with filters of different kinds at the sea water inlet, the maintenance of the condenser being done, among others, by periodic mechanical and chemical (chlorination) treatments. This problem is outside the scope of this article.

4. Selection of the Best Solar Thermal Collector Type and Determination of the Mean Thermal Efficiency

4.1. Selection of the Best Solar Thermal Collector Type

There are 3 types of non-concentrating solar thermal collector heating water (see [9] and [10] for general information):

• Unglazed liquid collectors are mainly used to heat water for swimming pools. They are simple and the cheapest among the collectors. The problem is their poor efficiency, which prevents any use for an application of solar thermal plant.

• Evacuated tube collectors have the best efficiency. However, they use sophisticated technology (high vacuum) and they are the most expensive among the collectors. Their sophistication is an interrogation of competitive lifetime. Moreover, their relatively high cost will also prevent us from using them as a hot source for a solar thermal plant.

• Glazed flat plate collectors (also called “glass-top flat surface solar collectors”). It is the best choice as they are simple, relatively cheap and efficient (with cost and efficiency between unglazed and evacuated collectors).

4.2. Description of the Hot Source

In Figure 6, it is shown the hot source formed by these collectors.

Fresh water is extracted at the temperature Tsi (about 71˚C), by the extraction pump from the inferior layer of the fresh water tank, a tank which is intended to supply the thermal energy conversion unit with hot water during the night period so as to provide a continuous working day and night, all year round.

Note 1: this tank is supposed thermally insulated to limit heat loss to the minimum, and covered by a roof to avoid evaporation. For the calculations, this tank is supposed thermally stratified, i.e., hot water (about 77˚C) remains in the superior layer and the “warm” water (about 71˚C) remains in the inferior layer. However, it is not a requirement, as the water could be totally mixed.

To remain simple, the tank will have a small depth (let’s say ≤ 10 m), and will look like a covered in-ground pool.

Note 2: the fresh water extraction pump is stopped during the night period. It is a variable flow rate pump, because according to the horizontal irradiation power (Ir), to have a constant ΔTs across the solar thermal collectors field (5.46˚C in our example, according to §4.3), the flowrate must be controlled (see also Section 7).

Figure 6. Hot source diagram.

After heating by the collectors (up to Tso, about 77˚C) during the daylight period, the fresh water returns to the superior layer of the tank.

4.3. Mean Thermal Efficiency of the Glazed Flat Plate Collectors

From now on, only glazed flat plate collectors will be considered. They will be simply called “collectors”.

The thermal power Phco generated by a heat-absorbing surface collector Sco (m2) is equal to:

P h c o = η c o × S c o × I r (22)

With ηco the thermal collector efficiency and Ir the horizontal irradiation power (W/m2).

According to [10] pages 121 and 122,

η c o = η c 0 a 1 × Δ T c o I r a 2 × Δ T c o 2 I r (23)

ηc0 is the thermal efficiency without heat loss (ideally it might be equal to 1).

a1 is the linear coefficient of heat transfer (ideally it might be equal to 0).

a2 is the quadratic coefficient of heat transfer (ideally it might be equal to 0).

Δ T c o = T m T a (˚C) (24)

Tm is the mean temperature inside the collectors. For all collectors, it is supposed that Tm is the mean temperature between the inlet (Tsi) and the outlet (Tso) temperatures of the solar thermal collectors field:

T m = T s i + T s o 2 (25)

Moreover, due to the supposed stratification of the tank, it can be written:

Ts0 = Thi, i.e., the temperature at the outlet of the collectors is equal to the temperature at the inlet of the steam generator or the evaporator (see Figure 1).

Tsi = Tho, i.e., the temperature at the inlet of the collectors is equal to the temperature at the outlet of the steam generator or the evaporator. See Figure 4 for the Rankine cycle. For the Claude cycle (Figure 5) Tmix would have to be considered. However, Tmix is very close to Tho (see Note of §3.4), so taking Tho (instead Tmix) only generates a very slight error.

To simplify, it will be done a sole calculation for both the Rankine and Claude cycles. The lowest Tho will be considered. Now ThiTh0 = 2.86˚ for the Rankine cycle (§3.3) and ThiTho = 5.46˚C for the Claude cycle (§3.4). Thi being supposed constant, the lowest Tho is the Claude one, with Tho = Thi − 5.46˚C, so Tsi = Thi − 5.46˚C.

ΔTs = TsoTsi = 5.46˚C, which introduces a small error for the Rankine cycle.

So

T m = T h i + T h o 2 = T h i 2.73

Ta is the ambient air temperature. So

Δ T c o = T h i 2.73 T a (26)

Among these collectors there are a wide variety of equipment, from very efficient and expensive (about 200 Euros/m2 in 2022) down to not so efficient but cheap (about 30 Euros/m2 in 2022).

For the example, it will be chosen a collector with an intermediate efficiency: ηc0 = 0.78, a1 = 3.3 and a2 = 0.014. So:

η c o = 0.78 3.3 × Δ T c o I r 0.014 × Δ T c o 2 I r (27)

Roughly, the best equipment would be 15% better in term of efficiency (ηco) and the worst equipment would be 15% worse.

5. Mean Net Electric Power (Pen1) Delivered on a Continuous Working over One Year, for 1 m2 of Collector

5.1. Goal and Hypothesis

The goal of this estimate is to assess the mean net electric power (Pen) delivered by this plant over one year, if located in the Nouakchott area.

It will be supposed 1 m2 of heat-absorbing surface collector, so the variable “Pen” will be replaced by “Pen1”.

Note: the heat-absorbing surface collector is equal to about 91% of the total collector surface.

Of course, as the net electric power (Pen) is proportional to the heat power transferred (Ph, see §3.3 and §3.4) and, finally, to the effective surface of collectors (Sco), it will be, afterwards, enough to determine Sco from a targeted net electric power (Pen).

The first possibility of assessment would be to share the year in minutes, then to calculate the net electric power delivered during each minute and finally to calculate the mean value over the year. This would be possible but complex and over the scope of this article.

To limit the complexity of such estimate, it will be calculated a set of mean values, and on this basis, the estimate will be done. This method is simple but pessimistic.

5.2. Mean Values for the Continuous Working Estimate

It will be first determined by a meteorological set of data. From the Nouakchott data in §2.1, it can be deduced that:

• The average “max air temperature” is equal to 31.75˚C.

• The average “min air temperature” is equal to 23.08˚C.

• The average “ocean temperature” (Tci) is equal to 22.0˚C. So according to §3.3, Tco = Tci+ 4.25 = 26.25˚C and T4 = Tci + 6.75˚C = 28.75˚C.

In saturated state for NH3 (Rankine cycle), P4 = f(T4) = 11.24 bar and for water (Claude cycle), P4 =f(T4) = 0.0395 bar. Note that P1 ≈ P4.

As the air temperature is minimum at the beginning of the day and maximum a bit before the end of the day, it will be considered that the average air temperature for the daylight period (Ta) is intermediate between both temperatures so T a = 31.75 + 23.08 2 = 27.4 ˚ C .

Even if the latitude of Nouakchott is not equatorial (18.1˚ North) it will be supposed that the mean daylight duration (Dp) is equal to 12 h (in fact very slightly superior to 12 h), and so corresponds to the March and September equinoxes (i.e., 20th of March and 23th of September in 2022).

According to [2], the GHI (global horizontal irradiance) is between 2150 and 2200 kWh/m2 per year in the Nouakchott area. It will be considered 2175 kWh/m2 per year.

So the mean horizontal irradiation power during daylight.

I r = 1000 × G H I 365 × 12 = 496.6 W / m 2

The mean values and the values deducted are listed below:

Tci = 22.0˚C, Tco = 26.25˚C, T4 = 28.75˚C, T2 ≈ T1 ≈ T4.

From T4, P4 = 11.24 bar (≈P1) for a Rankine cycle and P4 = 0.0395 bar (≈P1) for a Claude cycle.

Ta = 27.4˚C

• Mean daylight duration (Dp) = 12 h

Ir = 496.6 W/m2 during the 12 h of daylight period.

5.3. Determination of the Ideal Mean Hot Temperature Thi

Using the mean values, the mean hot temperature Thi at the steam generator or evaporator inlet (see Figure 4 and Figure 5) must be determined, using as criteria the maximum net electric power (Pen).

Below are reminded the Equation (13) (§3.3 and §3.4), (26) and (27) (§4.3):

η n e t = 0.628 × ( T h i T c i 12.21 ) T h i + 267.69 6.958 E 3 (13)

Δ T c o = T h i 2.73 T a (26)

η c o = 0.78 3.3 × Δ T c o I r 0.014 × Δ T c o 2 I r (27)

Note: for 1 m2 of heat-absorbing surface collector, it will now be referred as:

Ph1 instead Ph, with P h = P h 1 × S c o

Pen1 instead Pen, with P e n = P e n 1 × S c o

Phco1 instead Phco, with P h c o = P h c o 1 × S c o

Now the thermal power Phco1 (W/m2) generated by 1 m2 of heat-absorbing surface collector is equal to:

P h c o 1 = P h c o S c o = η c o × I r (28) (cf. §4.3)

Because this plant, by means of water storage (Section 6), is supposed to generate electricity day and night (24 h) and not only during the daylight period Dp (12 hours according to our hypothesis in §5.2), the heat transfer rate Ph1 (in W/m2) (see §3.3 for Ph) to supply to the thermal energy conversion unit will be equal to:

P h 1 = P h c o 1 × D p 24 so P h 1 = η c o × I r × D p 24 (29)

Because η n e t = P e n P h (§3.4), η n e t = P e n 1 P h 1

So

P e n 1 = P h 1 × η n e t and P e n 1 = η c o × I r × η n e t × D p 24 (30)

Dp, Tci, Ta, Ir are known, Thi is unknown. In a loop written in a computer program, it is easy to make slowly increase the Thi value. For each Thi, it will be successively found ηnet, ΔTco, ηco, Pen1.

The calculation will be stopped when the maximum value of Pen1 will be found.

It is found an ideal Thi= 76.7˚C. For this temperature, ηco = 40.85%, ηnet = 7.05%, Phco1 = 203.3 W/m2 and Pen1 = 7.169 W/m2. As ThiT3 = 5.46˚C (§3.3 and §3.4) thenT3 = Thi− 5.46 = 71.24˚C.

Note: this value of Pen1 = 7.169 W/m2 can be compared to the mean power delivered over one year by the Seikh Zayed photovoltaic plant located at Nouakchott. From [11] and [12], it can be determined that this plant is composed of 29,826 photovoltaic modules of 5.72 m2 each (so a total of 1.706E5 m2) generates 25,409 MWh per year. Let’s suppose that it is a net electric energy and not a rough one.

It means that, over a year, the mean net generated power by m2 (Pen1) is equal to P e n 1 = 25409 E 6 365 × 24 × 1.706 E 5 = 17.00 W / m 2 .

So 1 m2 of photovoltaic panel generates as much electricity as 17.00 7.169 = 2.37 m 2 of thermal collector (only 2 m2 with a more precise estimation in §6.4).

The values deducted are listed below:

Thi= 76.7˚C, Tho = Thi − (ThiTho) = 76.7 − 2.86 (cf. §3.3) = 73.84˚C for the Rankine cycle

T3 = 71.24˚C (=Tho for the Claude cycle).

From T3, P3 = P2 = 34.07 bar for a Rankine cycle and P3 = 0.3287 bar (with P2 ≈ P3 + ΔPwf, cf. §3.4) for a Claude cycle.

6. Continuous Working by Means of the Fresh Water Storage

6.1. Principle

The principle of continuous working is to store heat during the daylight in the form of a temperature rise of the water inside the fresh water tank, and to make “consume” half of this heat by the thermal energy conversion unit during the night; the other half being “consumed” during the day, as shown in Figure 7.

From the §5.3, it has been determined that the ideal Thiis equal to 76.7˚C for Pen1 = 7.169 W/m2.

Now it can be observed that at Thi = 71.2˚C, Pen1 = 7.027 W/m2 and at Thi = 82.2˚C Pen1 = 7.029 W/m2.

The loss in Pen1 compared to the nominal value (7.169 W/m2) is inferior to 2%, so Pen1 is almost constant if Thiremains between 71.2˚C (minimum) and 82.2˚C (maximum).

Figure 7. Continuous working.

So the principle of continuous working will be (see Figure 7):

• During the daylight (6 AM to 6 PM), the fresh water tank is heated so as to switch from Tso = Thi = 71.2˚C at the beginning of the daylight (6 AM) to Tso = Thi = 82.2˚C at the end of the daylight (6 PM). Meanwhile Tsi = Tho will switch from 71.2 − 5.46 = 65.7˚C to 82.2 − 5.46 = 76.7˚C. So the tank temperature will increase by ΔTt = Thi at 6 PM − Thi at 6 AM = 82.2 − 71.2 = 11˚C

• During the night (6 PM to 6 AM), the fresh water tank is slowly refreshed by extraction of heat from the thermal energy conversion unit so as to switch from Tso = Thi = 82.2˚C at the beginning of the night (6 PM) to Tso = Thi = 71.2˚C at the end of the night (6 AM). Meanwhile Tsi = Tho will switch from 82.2 − 5.46 = 76.7˚C to 71.2 − 5.46 = 65.7˚C. So the tank temperature will decrease by ΔTt = Thi at 6 AM − Thi at 6 PM = 71.2 − 82.2 = −11˚C

6.2. Determination of the Fresh Water Tank Mass (Mt1) and Volume (Vt1) for 1 m2 of Collector

In the §5.3 the thermal power generated by 1 m2 of the collector (Phco1) has been determined: Phco1 = 203.3 W/m2, at the ideal temperature Thi= 76.7˚C.

During the 12 hours of daylight the heat produced Eh1 (J/m2) can be approximated by:

E h 1 P h c o 1 × ( 12 × 3600 ) (31)

Half of this heat will be directly consumed by the thermal energy conversion unit and the other half will heat the fresh water inside the tank. To increase the tank temperature by ΔTt = 11˚C, the mass of water Mt1 by m2 of the collector will be such that

E h 1 2 = M t 1 × C p × Δ T t and M t 1 = E h 1 2 × C p × Δ T t (32)

with Cp = 4196.8 J/kg, it is found Mt1 = 95.1 kg/m2 so a tank volume Vt1 (by m2 of collector) equal to 0.0975 m3/m2 with ρ = 975.3 kg/m3

6.3. A More Precise Calculation of Phco1 and ΔTt

Horizontal irradiation power (Ir) according to the time angle (w)

From [13] pages 127 to 130, it can be deduced that, at equinoxes (i.e. declination of the Sun δ = 0), the horizontal irradiance at the top of the atmosphere during the daylight is

I e r ( w , ρ ) T S I × C o s ( w ) × C o s ( ρ ) (33)

TSI (Total Solar Irradiation) = 1360.8 W/m2. The latitude ρ is equal to 18.1˚ at Nouakchott.

w is the time angle between −Pi/2 rd at 6h, 0 rd at 12 h and Pi/2 rd at 18 h.

So

I e r ( w ) = 1293.5 × C o s ( w ) (34)

From this equation, supposing a constant clearness index (“Cli”, from 0 to 1) for the luminosity during the daylight, it can be written:

I r ( w ) = I e r ( w ) × C l i = 1293.5 × C l i × c o s ( w ) = I r 0 × c o s ( w ) (35)

between 6 h and 18 h.

After some calculations, the mean value Ir can be written

I r = 2 × I r 0 π (36).

So I r 0 = π 2 × I r . Ir is known and equal to 496.6 W/m2 (§5.2) so Ir0 = 780.1 W/m2 and

I r ( w ) = 780.1 × c o s ( w ) (37).

Note: a more general but more complex equation Ir(w) = f(w), could be calculated for any latitude ρ and any declination of the Sun δ (between −23.43˚ and 23.43˚), taking into account the relative Earth orbit eccentricity factor (between −3.344% and 3.344%). It’s not necessary here.

Daily ambient air temperature (Ta) according to the time (t)

The daily temperature Ta can be approximated by a sinus function evolving between:

• The average “max air temperature”: 31.75˚C (§5.2), supposed to be obtained at 18 h.

• The average “min air temperature”: 23.08˚C (§5.2), supposed to be obtained at 6 h.

The temperature Ta can be written as, with t in minute:

T a ( t ) = 4.335 × sin ( π × t 720 ) + 27.415 (38)

The time t varies from 0 to 1440 minutes at midnight.

On Figure 8, both functions are shown.

Figure 8. Ta and Ir functions of the time of day.

Precise calculation of Phco1 and ΔTt

With these two approximations, it is possible to calculate a more precise value of the thermal power Phco1 (§5.3).

From the minimum temperature Thi = 71.2˚C at 6 AM (§6.1), a calculation can be done each minute from 6 h to 18 h to determine the heat energy supplied by the collector, knowing Ir(w) and Ta(t). Afterwards, after addition of these elementary energies, it is determined the mean thermal power Phco1 and the increase of temperature (ΔTt).

Finally, it is found that Phco1 = 219.4 W/m2 instead 203.3 W/m2, as determined in §5.3. With this new Phco1 value, Thiincreases up to 83.1˚C instead 82.2˚C.

Note: the ambient temperature Ta approximation has a very weak influence on the result (Phco1 = 219.0 instead 219.4 W/m2 without this approximation). A constant Ta would be sufficient.

It can be concluded that the method using means values (Sections 5 and 6) applicable for all the day, is pessimistic on Phco and consequently on Pen1 by about 8%.

6.4. Estimates of the Minimum and the Maximum Net Electric Power per m2 (Pen1) during the Year

From §5.3, it has been determined that at the ideal Thi= 76.7˚C, Pen1 = 7.169 W/m2. This corresponds to the mean estimate over the year. Let’s estimate the ideal Thiat the moments of the year where Pen1 is either minimum or maximum.

To simplify the calculation by ignoring the Ta and Tci influence, it will be considered that the worst and the best Pen1 are obtained respectively for the worst Ir and the best Ir. Ir depends on the horizontal irradiance at the top of the atmosphere (extraterrestrial solar irradiation) Ier and the luminosity (clearness index Cli). From [14] page 6, it can be observed that, at Nouakchott:

Ir is minimal in December with solar energy of 5023.07 Wh/m2/day,

Ir is maximal in April with solar energy of 7117.18 Wh/m2/day.

Now, from Nouakchott data in §2.1, it can be observed that:

• In December, the “max air temperature” is equal to 29˚C, the “min air temperature” is equal to 20˚C and the ocean temperature (Tci) is equal to 20.1˚C.

• In April, the “max air temperature” is equal to 32˚C, the “min air temperature” is equal to 21˚C and the ocean temperature (Tci) is equal to 18.6˚C.

In the same way as explained in §5.2, it will be considered that the average air temperature (Ta) for the daylight period is intermediate between the “min air temperature” and the “max air temperature”. So:

Ta = 24.5˚C in December,

Ta = 26.5˚C in April.

From equations issued from [13] pages 97 to 99, it can be determined that the daylight period (Dp) lasts 10.925 hours on the 15th of December and 12.417 hours on the 15th of April.

So the mean horizontal irradiation power

I r = S e D p (39)

is equal to 5023.07/10.925 = 459.8 W/m2 in December and 7117.18/12.417 = 573.2 W/m2 in April. These pieces of data show that the mean clearness index (Cli ≈ 0.66) is superior to the one implicitly given by [2] (Cli ≈ 0.625), which will improve the results.

Starting from these Ir values and using the same method as the one described in §5.3, it can be determined that:

• On the 15th of December, it is found an ideal Thi= 71.8˚C. For this temperature, ηco= 39.86%, ηnet= 6.61%, Phco1 = 183.75 W/m2 and Pen1 = 5.53 W/m2

• On the 15th of April, it is found an ideal Thi= 79.5˚C. For this temperature, ηco= 42.80%, ηnet= 8.11%, Phco1 = 245.83 W/m2 and Pen1 = 10.32 W/m2

The meanPen1 for all year round is probably around (5.53 + 10.32)/2 = 7.92 W/m2.

The mean Pen1 determined in §5.3 was equal to 7.169 W/m2. So, due to an implicit mean clearness index inferior to the measured one by about 5.3%, the mean Pen1 result is found pessimistic by about 9.5%.

With a probable mean Pen1 = 7.92 W/m2, the mean variation of Pen1 around this mean value is equal to about: +/−37% maximum, throughout the year.

Note 1: this variation would be much less important if the collector was inclined according to the latitude, rather than installed horizontally (see first note in Section 7).

Note 2: taking into account the previous pessimistic margin (8%) determined in §6.3, the real mean Pen1 must be probably equal to 7.92 × 1.08 = 8.55 W/m2. So 1 m2 of photovoltaic panel generates as much electricity as about 17.00/8.55 = 2 m2 of thermal collector (see §5.3 for the 17.00 W/m2 value).

7. Solar Collectors Field Configuration

As shown in Figure 6, the collectors can be configured in series-parallel. They are supposed to be installed on a horizontal support, to remain with a simple (but pessimistic) calculation.

Note: of course, the installation of collectors could advantageously be done on inclined support, the best angle depending on the latitude, so as to improve the heat power output and to reduce the variation of net power output between the cold and the hot periods of the year. However, a calculation taking into account the azimuth and the inclination angle is beyond the objective of this article. Now it is reminded that for the North hemisphere, the best configuration (relatively to Ier) for an inclined collector is full southern for the azimuth and an inclination angle equal to the latitude. It is the reverse for the South hemisphere. It comes to multiply Ir by 1 c o s ( ρ ) with ρ the latitude.

In the case of Nouakchott, Ir becomes 522.4 W/m2 instead 496.6 W/m2 (so a gain of 5.2% on Ir). From the same type of calculation as in §5.3, it is found Pen1 = 7.89 W/m2 instead 7.17 W/m2 (so a gain of 10.0% on Pen1). Moreover, the variation of the generated net power throughout the year will be smaller, which is an advantage for the thermal energy conversion unit, because it will have to work with a reduced variation of the physical parameters.

Let’s calculate the necessary volume flowrate Qv1co through a standard collector to have the necessary ΔTs, such that ΔTs = TsoTsi= 5.46˚C (according to §4.3) with a mean Ts0 = 76.7˚C (cf. §5.3). So Tsi = 71.2˚C and T m = T s o + T s i 2 = 74.0 ˚ C .

Now, the mean heat power Phco1 delivered by 1 m2 of heat-absorbing surface collector is equal to 203.3 W/m2 (cf. §5.3).

A standard collector has a heat-absorbing surface collector Scoof about 2 m2.

So the real heat power Pco generated by a collector is equal to P c o = 2 × P h c o 1 = 406.6 W for our example.

The transfer heat through the collector is equal to P c o = Q m 1 c o × C p × Δ T s with Cp about 4197 J/kg at Tm, and Qm1co the mass flow rate through a collector.

Q m 1 c o = Q v 1 c o × ρ c o with ρco the volume mass equal to 975.3 kg/m3 at Tm.

So Q v 1 c o = P c o ρ c o × C p × Δ T s = 1.819 E 5 m 3 / s , or 65.5 l/h (“l” for a liter), for the example.

Qv1co is the volume flow rate through the collector.

One calculation condition is to have constant ΔTs across the solar thermal collectors field (5.46˚C for our example).

Note 1: A ΔTs constant and equal to 5.46˚C is not an absolute requirement. It depends on the way stratification and mixing occurs in the fresh water tank. Now if ΔTs is too important, there is a risk of vaporization inside the collectors, which would prevent any working. Tso must be widely below 100˚C, let’s say 90˚C maximum.

Note 2: The collectors field as a hydraulic net must be balanced in term of pressure loss, so to have about the same flow rate through all the collectors. This will prevent any vaporization due to a local weak flow rate.

In the example, it is found Qv1co = 65.5 l/h for Phco1 = 203.3 W/m2 and the mean value Ir = 496.6 W/m2 during the 12 h of daylight period (cf. §5.2). But Ir is variable according to the day time (see §6.3) and to the moment on the year (see §6.4). So Qv1co can vary from several l/h up to let’s say 200 l/h, by means of the fresh water extraction pump which is supposed to be a variable flow rate pump (cf. §4.2).

Let’s suppose that I r ( w ) = 780.1 × c o s ( w ) as calculated in §6.3. From Ir maximum = 780.1 W/m2, a calculation done as in §5.3 gives ηco = 0.544, Phco1 = 424 W/m2 and Qv1co = 136.7 l/h

In these conditions, the pumping mechanical power necessary (Pp1co) for one collector is equal to: P p 1 c o ( W ) = Q v 1 c o ( m 3 / s ) × Δ P 1 c o ( Pa )

About ΔP1co, let’s suppose that, roughly, for a standard collector

Δ P 1 c o ( Pa ) = 1 E 12 × Q v 1 c o 2 (40)

with Qv1co in m3/s. For a supposed maximum flowrate Qv1co equal to 136.7 l/h (i.e. 3.80E−5 m3/s):

Δ P 1 c o ( Pa ) = 1 E 12 × Q v 1 c o 2 = 1442 Pa

Ÿ P p 1 c o = 1 E 12 × Q v 1 c o 3 = 0.0 55 W (41)

A simulation on a whole daylight (12 h) gives a mean Pp1co = 0.019 W, which corresponds to

Q v 1 c o = P p 1 c o 1 E 12 3 = 2.66 E 5 m 3 / s and to Δ P 1 c o = 7 0 9 Pa (42)

Let’s suppose two collectors in parallel (4 m2). The total volume flowrate will be the double for the same ΔP1co. So the mean mechanical power necessary will be the double (0.038 W for the example).

Let’s suppose two collectors in series (4 m2), as shown in Figure 6. In this case, for one collector:

• The flowrate Q v 1 c o s = 2 × Q v 1 c o (=5.32E−5 m3/s for the example), to keep the same ΔTs,

Δ P 1 c o s = 4 × Δ P 1 c o (2836 Pa for the example),

P p 1 c o s = 8 × P p 1 c o (0.15 W for the example).

For both collectors in series, the mean Δ P 2 c o = 2 × Δ P 1 c o s (5672 Pa for the example) and the mean mechanical power necessary P p 2 c o = 2 × P p 1 c o s (0.30 W for the example).

Let’s suppose a configuration similar to the one shown in Figure 6:

• All the collectors are grouped two by two in series.

• All these groups of two collectors are in parallel.

Moreover, it will be supposed that the pressure loss in the pipes upstream and downstream the group of two collectors (4 m2) will be equal to the pressure loss across this group. So Δ P s = 2 × Δ P 2 c o (11,344 Pa for the example) and the mean mechanical power (given by the fresh water extraction pump) necessary for a group of two collectors becomes P p s = 2 × P p 2 c o (0.60 W for the example).

Of course, this power is consumed only during the 12 hours of daylight.

Note: the pipes must be heat-insulated to limit the heat loss.

Now, it can be of economic interest to have several collectors in series to minimize the number of pipes, even if the mechanical pumping power increases or if ΔTs increases. A “technical and economic” study will give the best configuration. For example, when Ir is close to the maximum, it would be possible to leave increase ΔTs up to a reasonable value, so as to limit the flow rate.

Note: there is no real limit to the dimensions of the solar thermal collectors field (which could also be seen as a fresh water system). Depth or width could reach kilometers or more. The sole constraints are:

• To limit the heat loss from the pipes, with heat-insulation.

• To limit the pressure loss through the pipes, with sufficient pipe diameters.

8. Desalinated Water Production

8.1. Principle

It can be taken profit from the relatively high temperature Ts0 at the outlet of the collectors field (Figure 6). In Figure 9, it is shown a vacuum distillation desalination unit. It is no more than a principle diagram. For more details about desalination units (for ETM), see [6] pages 114 and 115.

Note: as for the Claude cycle, the altitude of the equipment (steam generator and condenser) under vacuum is such that the barometric static pressure of the working fluid corresponds to the expected vacuum pressure (so around 7 m).

Figure 9. Desalinated water production.

The hot fresh water at Tso = Thi = 76.7˚C (cf. §5.3) enters the desalination unit by the SG (steam generator), which makes boil the sea water under vacuum at Tsat. The fresh water leaves the SG at for example Tho = Thi − 2.85˚C as for the Rankine SG (cf. §3.3). Let’s suppose that ThiTsat = 5.46˚C as for the Rankine SG (cf. §3.3).

So Tsat = 71.24˚C and Psat = 0.3287 bar. This steam is condensed in the condenser cooled by the sea water. The condensed water (at 71.24˚C) is extracted by the condensed water extraction pump towards either the fresh water tank (initial filling or level control) or for other uses such as drinking water, irrigation, etc.

Let’s suppose that a ratio Rcw = 20% of the mean available heating power (Phav in W) is used for the desalination unit and 80% is used for electricity production. For 1 m2 of heat-absorbing surface collector, the mean heat power supplied Phco1 is equal to 203.3 W/m2 during Dp = 12 hours (§5.3).

With Phav1 equal to Phav for 1 m2 of heat-absorbing surface collector ( P h a v = P h a v 1 × S c o ), P h a v 1 = P h c o 1 × D p 24 = P h c o 1 2 = 101.65 W / m 2

Consequently, the power

P h c o d u = P h a v × R c w (43)

and for 1 m2 of heat-absorbing surface collector:

P h c o d u 1 = P h c o d u S c o = P h a v 1 × R c w = 20.33 W / m 2 (44)

will be used, day and night, to produce condensed water by the desalination unit, whereas

P h 1 = P h a v 1 × ( 1 R c w ) = 81.32 W / m 2 (45)

will be used, day and night, to produce electricity by the thermal energy conversion unit.

The heat of vaporization Lv at Tsat = 71.24˚C is equal to 2331 kJ/kg. So the condensed water mass flow rate for 1 m2 of collector is equal to

Q m c w = P h c o d u 1 L v + ( C p × ( T s a t T c i ) ) (46)

Tci = 22.0˚C (cf. §5.2). Cp for a temperature between Tci and Tsat is equal to about 4183 J/kg.

For the example, Qmcw = 8.013E−6 kg/s and the daily production of condensed water for 1 m2 of collector (Qmdcw) will be equal to:

Q m d c w = Q m c w × ( 3600 × 24 ) = 0.692 kg / day / m 2 (47)

8.2. Estimation of the Electric Power Consumed for 1 m2 of Heat-Absorbing Surface Collector (Peadu1)

About the fresh water circuit through the steam generator

The fresh water mass flow rate through the desalination unit steam generator (Qmdu) is such that:

P h c o d u 1 = Q m d u × C p × ( T h i T h o ) with Thi = 76.6˚C, ThiTho = 2.85˚C (cf. §3.3 and §8.1) and Cp about 4198 J/kg. So

Q m d u = P h c o d u 1 C p × ( T h i T h o ) = 1.699 E 3 kg / s

The volume flow rate Q v d u = Q m d u ρ d u with ρdu the volume mass equal to 974.7 kg/m3. So Qvdu = 1.743E−6 m3/s

The mechanical power Pmdu1 necessary for the fresh water circulation pump (Figure 9) to pump this flow rate is equal to P m d u 1 = Q v d u × Δ P d u with the pressure drop ΔPdu through the pipes leading the fresh water to the steam generator supposed equal to 0.3 bar. So Pmdu1 = 5.23E−2 W/m2.

About the condensed water circuit

The mechanical power Pmcw1 necessary for the condensed water extraction pump to pump the condensed flow rate Qvcw is equal to P m c w 1 = Q v c w × Δ P c w ; Q v c w = Q m c w ρ c w with ρcw the volume mass equal to 976.9 kg/m3.

So Qvcw = 8.20E−9 m3/s

With the pressure drop ΔPcw through the pipes leading the condensed water to the fresh water tank or to the consumer circuits supposed equal to 0.3 bar, Pmcw1 = 2.46E−4 W/m2.

About the sea water circuit through the condenser

The sea water mass flow rate through the desalination unit condenser (Qmcdu) is such that: Q m c d u × C p × Δ T c d u = Q m c w × L v ( T s a t )

So

Q m c d u = Q m c w × L v ( T s a t ) C p × Δ T c d u (48)

It will be considered that the ΔTcdu across the condenser is equal to 20˚C. Cp is equal to 4194 J/kg. So Qmcdu = 2.23E−4 kg/s

Q v c d u = Q m c d u ρ c d u with ρcdu the volume mass equal to 995 kg/m3

So Qvcdu = 2.24E−7 m3/s

The mechanical power Pmcdu1 necessary for the sea water circulation pump (Figure 1) to pump the sea water flow rate through the condenser is equal to P m c d u 1 = Q v c d u × Δ P c d u .

With the pressure drop ΔPcdu through the sea water circuit supposed equal to 0.4 bar, Pmcdu1 = 8.96E−3 W/m2.

Electric pumping power (Pepdu1)

The sum of these 3 mechanical pumping powers is equal to P m p d u 1 = P m d u 1 + P m c w 1 + P m c d u 1 = 3.15 E 2 W / m 2 . Given a global efficiency of 0.85 for these pumps, the expected electric pumping power Pepdu1 is equal to: P e p d u 1 = P m p d u 1 0.85 = 7.24 E 2 W / m 2 .

Power for vacuum (Pevdu1)

The necessary vacuum pump and degassing unit to trap dissolved gasses are supposed to consume Pevdu1 = 0.14% of Phcodu1 (as in §3.4.1), so 2.85E−2 W/m2 in the example.

Note: this value is pessimistic due to the high vacuum pressure (Psat = 0.3287 bar).

Total expected consumed electric power (Peadu1)

Consequently, the total expected consumed electric power P e a d u 1 = P e p d u 1 + P e v d u 1 is equal to 0.101 W/m2 (for 1m2 of heat-absorbing surface collector, with the ratio Rcw = 20%).

9. Example of Solar Thermal Power Plant

Further, it will be considered, as an example, a solar thermal power plant equivalent, in terms of electricity production, to the Seikh Zayed photovoltaic plant located at Nouakchott, which electricity production is equal to 25,409 MWh per year (cf. [11]).

9.1. Generalities about a Solar Thermal Power Plant Equivalent to the Seikh Zayed Photovoltaic Plant

The plant is supposed to be located at Nouakchott, it will be found for 1 m2 of heat-absorbing surface collector, as shown in §5.3, that the ideal temperature Thi = 76.7˚C. For this temperature, ηco = 40.85%, ηnet = 7.05%, Phco1 = 203.3 W/m2 and the net electric power Pen1 = 7.169 W/m2.

Note: this Pen1 value is probably pessimistic and rather equal to 8.55 W/m2 (see §6.4).

Let’s consider the ratio Rcw = 20%, as chosen in §8.1. Consequently, for 1 m2 of heat-absorbing surface collector:

• 20% of the mean heating power (Phav1) is used for the desalination unit, so as to produce 0.692 kg/day/m2 of condensed water (cf. §8.1),

• 80% is used for electricity production. Now for Ph1 = Phav1 (at Rcw= 0), Pen 1 (at Rcw = 0) = 7.169 W/m2 (§5.3), so for Rcw= 20%, P e n 1 ( R c w ) = P e n 1 ( at R c w = 0 ) × ( 1 R c w ) = 7.169 × 0.8 = 5.73 W / m 2 of surface collector.

25,409 MWh per year being the supposed net electricity production, the mean net electric power (Pen) to generate over a year is equal to: P e n = 25409 E 6 365 × 24 = 2.90 E6 W .

So, to generate Pen = 2.90E6 W, it would be necessary to install a heat-absorbing surface collector Sco: S c o = P e n P e n 1 = 5.06 E 5 m 2 (i.e. 0.506 km2).

According to §8.1, the daily production of condensed water will be equal to Q m d c w = 0.692 × S c o = 3.50 E 5 kg / day , so 350 tons per day.

According to §6.2, the mass of water in the tank will be equal to M t = 95.1 × S c o = 4.81 E7 kg or about a volume Vt = 49,328 m3. The surface of the tank could, for example, be equal to 80 m × 80 m for a depth of 7.71 m.

According to §3.3, η n e t = P e n P h , so P h = P e n η n e t = 4.11 E 7 W . Ph is the heating power for the thermal energy conversion unit. It can also be calculated as:

P h = P h c o 1 2 × S c o × ( 1 R c w ) (49)

9.2. Application to the Rankine and Claude Cycles

Peat corresponds to the electric power consumed by all the pumps and auxiliaries of the plant (called “Pea” in §3.3 and §3.4). Now, Peat includes the desalination unit and the fresh water extraction pump. Hypothetically, Peat will be limited to 6.958 E 3 × P h as for Pea in §3.3 and §3.4. This maximum (Peat max) must be considered as a reasonable objective. So in the example, for Ph = 4.11E7, Peat max = 2.86E5 W (0.286 MW).

The expected Pen = 2.90E6 (§9.1) will be really available if Peat (calculated) ≤ Peat max. If it is not the case (i.e., Peat > Peat max), Pen will have to be reduced by the difference Peat-Peat max.

9.2.1. Calculation of Pea for the Thermal Energy Conversion Unit Supposing a Rankine Cycle

It is reminded that:

• For Thi= 76.7˚C, T3 = 71.24˚C and P3 = P2 = 34.07 bar (see §5.3).

• For Tci= 22.0˚C, Tco= 26.25˚C, T4 = 28.75˚C, T2 ≈ T1 ≈ T4, P4 = 11.24 bar, P1 ≈ P4 (see §5.2).

Below, Pea is calculated in the same way as in §3.3.1.

About the working fluid circuit

The mechanical power Pmwf necessary for the compressor (Figure 4) to pump the working fluid in liquid state is equal to: P m w f = Q v w f × ( P 2 P 1 ) , with Q m w f = P h H s v ( T 3 ) H l ( P 2 , T 2 ) . For this example, Qmwf ≈ 35.6 kg/s. So with a liquid volume mass ρwf ≈ 597.1 kg/m3, the liquid volume flow rate: Q v w f = Q m w f ρ w f = 0.060 m 3 / s for the example. So the mechanical power Pmwf is equal to 1.36E5 W for the example.

About the fresh water circuit

The mechanical power Pmh necessary for the fresh water circulation pump (Figure 1) to pump the fresh water through the steam generator is equal to: P m h = Q v h × Δ P h , Qvhis proportional to Ph(with Cpand ρh supposed constant) so, referenced to §3.3, Qvh= 3.43 m3/s. However, a more precise calculation based on Q m h = P h C p × ( T h i T h o ) with ThiTho = 2.86˚C (§3.3 and §5.3) and on Q v h = Q m h ρ h gives Qvh = 3.52 m3/s. ΔPh is supposed equal to 0.3 bar. Therefore Pmh = 1.06E5 W for the example.

About the sea water circuit

The mechanical power Pmc necessary for the sea water circulation pump to pump the sea water through the condenser is equal to: P m c = Q v c × Δ P c . Qvc is approximately proportional to Ph (with Cp andρc supposed constant) so Qvc = 2.23 m3/s. ΔPc is supposed equal to 0.4 bar. So Pmc = 8.93E4 W for the example.

Electric pumping power (Pep)

The sum of these 3 mechanical pumping powers is equal to P m p = P m w f + P m h + P m c = 3.31 E5 W .

Given a global efficiency of 0.85 for these pumps, the expected electric pumping power Pep is equal to: P e p = P m p 0.85 = 3.89 E5 W .

Reminder power (Per)

Let’s suppose that the electric power Per consumed by the different auxiliaries, control, light of the plant, etc., is proportional to Ph. In §3.3 Ph = 7.186E8 W for Per = 0.76E6 W. So here for Ph = 4.11E7 W, Per = 4.41E4 W.

Total expected consumed electric power (Pea)

The total expected electric power Pea is equal to P e a = P e p + P e r = 4.33 E5 W

9.2.2. Calculation of Pea for the Thermal Energy Conversion Unit Supposing a Claude Cycle

It is reminded that:

• For Thi = 76.7˚C, T3 = Tho = 71.24˚C and P3 = 0.3287 bar (with P2 ≈ P3 + ΔPwf) (see §5.3).

• For Tci = 22.0˚C, Tco = 26.25˚C, T4 = 28.75˚C, T2 ≈ T1 ≈ T4, P4 = 0.0395 bar, P1 ≈ P4 (see §5.2)

Below, Pea is calculated in the same way as in §3.4.1.

About the working fluid circuit towards the fresh water tank

The mechanical power Pmwf necessary for the working fluid circulation pump (Figure 5) to pump the working fluid in liquid state is equal to: P m w f = Q v w f × ( P 2 P 1 ) (see §3.4.1), with P 2 P 1 P 3 P 1 + Δ P w f and Q m w f P h L v ( T h o ) . For this example, Qmwf ≈ 17.6 kg/s. So with a liquid volume mass ρwf ≈ 976.9 kg/m3, the liquid volume flow rate: Q v w f = Q m w f ρ w f = 0.0181 m 3 / s for the example.

It is supposed that the pressure drop ΔPwf through the pipes leading to the fresh water tank through the Tee (see Figure 5) is equal to 0.15 bar. So the mechanical power Pmwf is equal to 793 W for this example.

About the fresh water circuit towards the fresh water tank

The mechanical power Pmho necessary for the extraction pump (Figure 5) to pump the fresh water is equal to: P m h o Q v h × Δ P h o .

Now Q m h = P h C p × ( T h i T m i x ) P h C p × ( T h i T h o ) with ThiTho = 5.46˚C (§3.4 and §5.3).

Q v h = Q m h ρ h With Cp = 4197 J/kg and ρh = 975.3 kg/m3, Qvh = 1.84 m3/s.

It is supposed that the pressure drop ΔPho through the pipes leading to the fresh water tank through the Tee (see Figure 5) is equal to 0.15 bar. The mechanical power Pmho is equal to 2.76E4 W for the example.

About the fresh water circuit from the fresh water tank

The mechanical power Pmhi necessary for the fresh water circulation pump (Figure 1) to pump the fresh water through the evaporator is equal to: P m h i = Q v h × Δ P h i .

It is supposed that the pressure drop ΔPhi through the pipes coming from the fresh water tank towards the evaporator is equal to 0.15 bar. So the mechanical power Pmhi = Pmho = 2.76E4 W for the example.

About the sea water circuit through the condenser

The mechanical power Pmc necessary to pump the sea water through the condenser is the same as for the Rankine cycle (§9.2.1) (i.e. Pmc = 8.93E4 W for the example).

Electric pumping power (Pep)

The sum of these 4 mechanical pumping powers is equal to P m p = P m w f + P m h o + P m h i + P m c = 1.45 E5 W .

Given a global efficiency of 0.85 for these pumps, the expected electric pumping power Pep is equal to: P e p = P m p 0.85 = 1.75 E5 W .

Power for vacuum (Pev)

The necessary vacuum pumps and degassing units to trap dissolved gasses are supposed to consume Pev = 0.14% of Ph, so 5.76E4 W for the example.

Reminder power (Per)

Let’s suppose that the electric power Per consumed by the different auxiliaries, control, light of the plant, etc is proportional to Ph. In §3.4.1 Ph = 7.186E8 W and Per = 1.08E6 W.

So here for Ph = 4.11E7 W, Per = 6.18E4 W.

Total expected consumed electric power (Pea)

The total expected electric power Pea is equal to P e a = P e p + P e v + P e r = 2.90 E5 W

9.2.3. About the Desalination Unit

As calculated in §8.2, for 1 m2 of heat-absorbing surface collector and for the ratio Rcw = 20%, the total expected consumed electric power (Peadu1) is equal to 0.101 W. So for Sco = 5.06E5 m2 (§9.1), the total expected consumed electric power Peadu is equal to 5.10E4 W.

9.2.4. About the Fresh Water Pumping Station Associated to the Solar Collectors Field

Let’s suppose a solar collectors field configuration similar to the one shown in Figure 6. In Section 7, it has been determined that the mean mechanical power necessary for the fresh water extraction pump (Figure 6) to pump the fresh water through two collectors in series (4 m2) is equal to 0.60 W, during the Dp = 12 hours of the daylight, which is equivalent to 0.60 × D p 24 = 0.30 W during 24 hours.

So for Sco = 5.06E5 m2 (§9.1), the mean mechanical power is equal to P m s c = 0.30 × S c o 4 = 3.79 E4 W

Given a global efficiency of 0.85 for the fresh water extraction pump, the expected electric pumping power Pesc is equal to P e s c = P m s c 0.85 = 4.46 E4 W .

9.2.5. About the Total Auxiliary Electric Power Peat Consumed Supposing a Rankine Cycle and about the Real Pen

From the previous results, it can be determined Peat.

P e a t = P e a ( fortheRankinecycle ) + P e a d u + P e s c = 5.29 E5 W

Peat is widely superior to the Peat max = 2.86E5 W (§9.2)

The expected electric power Pen was supposed equal to Pen = 2.90E6 (§9.1), but in fact the real P e n = 2.90 E 6 P e a t + P e a t m a x = 2.66 E6 W (so a loss of 8.4%).

9.2.6. About the Total Auxiliary Electric Power Peat Consumed Supposing a Claude Cycle and about the Real Pen

P e a t = P e a ( fortheClaudecycle ) + P e a d u + P e s c = 3.86 E5 W

Peat is superior to the Peat max = 2.86E5 W (§9.2)

The expected electric power Pen was supposed equal to Pen = 2.90E6 (§9.1), but in fact the real P e n = 2.90 E 6 P e a t + P e a t m a x = 2.80 E6 W (so a loss of 3.4%), which is better that the Pen supposing a Rankine cycle, and close to the objective (Pen = 2.90E6 W).

10. Results and Discussion

It has been shown (in Section 2) that it exists, in different zones of the world, conditions favorable to a solar thermal power plant at low temperatures using solar thermal collectors. The obvious favorite coast areas are the warm ones (between about −40˚ to 40˚ of latitude). Now beyond the ambient air and the sea water temperatures, a very important parameter is the clearness index (Cli). See examples in Appendix.

To take profit of the difference of temperatures between the fresh water heated by collectors (around 77˚C) and the surface sea water (around 22˚C), it has been studied (in Section 3) the OTEC Rankine and Claude cycles. Even if the Rankine cycle is better mastered than the Claude cycle, this last one has advantages, at least in the absence of toxicity risk.

In Section 4, the hot source (solar thermal collectors field) has been described and the type “glazed flat plate collectors” has been selected.

From the previous data, taking as example the Nouakchott area, the mean values for a continuous working over the year have been determined in Section 5, especially the ideal mean hot temperature Thi (=76.7˚C).

The continuous working (day and night, all year round) by means of a fresh water storage which acts as a thermal energy reserve is described in Section 6. In this chapter, it is shown that for Nouakchott two m2 of solar collectors generate about the same average electricity production over the year than one m2 of photovoltaic panel.

The solar collectors field configuration has been analyzed in Section 7.

The desalinated water production through a vacuum distillation desalination unit has been described in Section 8.

An example of solar thermal power plant has been proposed in Section 9. It takes as objective the same initial electric production as the Seikh Zayed photovoltaic plant located at Nouakchott, which corresponds to a mean net electric power to generate over a year equal to 2.90 MW. Moreover, it is produced 350 tons of desalinated water per day.

The Rankine and the Claude cycles have been considered. Compared to the Rankine cycle, the Claude has a better result, very close to the objective (see §9.2.5 and §9.2.6). Taking also into account the absence of toxicity of its working fluid (fresh water), it must be considered as the preferred cycle for this type of plant.

In Appendix, it is proposed the description of a small program able to calculate the net electric power provided to the grid net, for 1 m2 of heat-absorbing surface collector. Three examples in different locations are given.

They show that, compared to collectors horizontally installed, the results are better when they are inclined by an angle equal to the latitude, above all for relatively high latitudes (see the third example in Appendix), in both aspects:

• The net electric power averaged over the year is always superior,

• The net electric power varies much less all along the year which is favorable for the machinery and for the electric net production management.

It must also be noted that if the collectors are horizontally installed, the main parameter is the latitude whereas if the collectors are inclined the main parameter is the clearness index.

Now the installation of such inclined collectors is obviously less simple and cheap than the installation of horizontal collectors.

11. Conclusions

It has been shown that this concept could work. Compared to a photovoltaic plant, the solar thermal power plant at low temperature has two main advantages:

• It produces electricity continuously, all year round.

• It produces desalinated water for drinking and irrigation.

According to Section 10, the best configuration is:

• A Claude cycle for the electricity production,

• Collectors are inclined by an angle equal to the latitude.

Moreover, the required technology for most of the equipment is relatively simple, so most of the repairs could be done locally.

Appendix

A small and simple program (“freeware”) has been written by the author. It is called “Solar_Plant” (version 1.0). It is based on the equations of this article plus an extension of these equations for the inclined collectors.

The results must be considered as rough, but sufficient for a quick evaluation. The program is written in Delphi 6 (i.e., Pascal Object). The Delphi 6 code remains proprietary.

It is intended to calculate the net electric power provided to the grid net (without desalinated water production). It will be enough for the user to multiply by the effective collectors surface (Sco) to have the net electric power wished. The goal is to have an idea of the possibility of electricity production for a given place. An average net power over the year superior or equal to 7 W/m2 with inclined collectors must be considered as interesting. These results apply, qualitatively, to the desalinated water production.

The last version of Solar_Plant (version 1.0 at the publication of this article) is proposed to download from this direct link: http://f6cte.free.fr/Solar_Plant.zip. It is enough to paste this address in your Internet browser. Download the file. Create a folder (C:\Solar for example), unzip the Solar_Plant.zip file in it, start C:\SOLAR\Solar_Plant.exe (the auxiliary file CONFSOLAR.SER will be created automatically).

The first calculation is the clearness index in %, function of GHI and the latitude. Then, for each period (December, June and equinoxes), it is calculated the net electric power provided to the grid net, for 1 m2 of heat-absorbing surface collector (Pen1 in W/m2) and the ideal Thi, using a calculated mean Ir as in §5.3. Then supposing Ta and Thi fixed, it is determined Ir function of the time of day (in a similar way as in §6.3). So a more precise mean value of Phco1 is calculated, as in §6.3. Supposing the same net efficiency ηnet, it is, afterwards, determined the new value of Pen1, by a simple rule of three. The proposed Pen1 values are the expected ones, i.e., for Peat = Peat max, as explained in §9.2.

Note: for December and June, Ir is calculated at the solstice (21th of December and 21th of June in 2022).

To make work this program, the user must, for a given place on the coast:

• Give the GHI (Global horizontal irradiance) in kWh/m2 (from WEB data, as on [1]).

• Give the latitude, from −65˚ (South) to 65˚ (North).

• Give the maximum and the minimum air temperatures plus the sea water temperature for December (from WEB data, as on [3] and [4]).

• Give the maximum and the minimum air temperatures plus the sea water temperature for June (from WEB data, as on [3] and [4]).

• Click on “Calculation” to see the results. First is given the calculated clearness index in % and then the net electric powers per m2, as detailed below.

○ First part, net electric power (Pen1 in W/m2) for the collectors installed horizontally:

• In December and in June, to see the difference,

• Probable mean value over the year, using the average temperatures between June and December.

○ Second part, net electric power (Pen1 in W/m2) for the collectors inclined with an angle equal to the latitude.

• In December and in June, to see the difference,

• At both equinoxes, using the average temperatures between June and December.

• Probable mean value over the year, using the three previous Pen1 results (December/June/Equinoxes).

Three examples are given below (two in the North hemisphere and one in the South hemisphere). Note that for the third example, the latitude is relatively high (37˚).

Example of results in the North hemisphere, for Nouakchott (configuration by default):

Data:

GHI = 2175 kWh/m2 Latitude = 18˚.

In December: T min air = 20˚C/T max air = 29˚C/T sea = 20˚C.

In June: T min air = 23˚C/T max air = 33˚C/T sea = 22˚C.

Results: Clearness index = 62.5%.

*Collectors installed horizontally—Net electric power in W/m2:

December = 5.16/June = 9.27/Average over the year = 8.29.

*Inclined collectors (angle = latitude)—Net electric power in W/m2:

December = 8.32/June = 7.43/Equinoxes = 9.18/Average over the year = 8.53.

Example of results in the South hemisphere, for Lüderitz in the South of Namibia:

Data:

GHI = 2200 kWh/m2 Latitude = −27˚.

In December: T min air = 14˚C/T max air = 25˚C/T sea = 17˚C.

In June: T min air = 11˚C/T max air = 22˚C/T sea = 15˚C.

Results: Clearness index = 67.1%.

*Collectors installed horizontally—Net electric power in W/m2:

December = 11.85/June = 3.37/Average over the year = 7.99.

*Inclined collectors (angle = latitude) —Net electric power in W/m2:

December = 9.11/June = 8.08/Equinoxes = 10.02/Average over the year = 9.31.

Example of results in the North hemisphere, for Almeria in the South of Spain (Andalusia):

Data:

GHI = 1750 kWh/m2 Latitude = 37˚.

In December: T min air = 10˚C/T max air = 18˚C/T sea = 17˚C.

In June: T min air = 19˚C/T max air = 28˚C/T sea = 21˚C.

Results: Clearness index = 58.7%.

*Collectors installed horizontally—Net electric power in W/m2:

December = 1.29/June = 7.97/Average over the year = 4.66.

*Inclined collectors (angle = latitude)—Net electric power in W/m2:

December = 6.45/June = 6.14/Equinoxes = 7.37/Average over the year = 6.83.

Observations

• The best configuration is the inclined collectors one: higher “Average over the year” net electric power and weaker differences between December/June/Equinoxes.

• From these examples, it is obvious that the main parameter in the inclined collectors configuration is the clearness index which must be the highest possible. For example, the result from Lüderitz (9.31 W/m2) is superior to the one from Nouakchott (8.53 W/m2), even if the absolute latitude is not so favorable (27˚ versus 18˚), this because the clearness index is equal to 67.1% for Lüderitz versus 62.5% for Nouakchott. The result for Almeria (6.83 W/m2) is not so good because the clearness index is not elevated (58.7%). Moreover, the advantage of this configuration compared to the horizontal installation increases with the latitude: the difference is small at Nouakchott (8.53 versus 8.29 W/m2) but strong at Almeria (6.83 versus 4.66 W/m2).

• The two main parameters are the absolute latitude and the clearness index. However, it can be observed that if the collectors are horizontally installed, the most influential parameter is the latitude, i.e. for a constant clearness index, the average net electric power decreases when the absolute latitude increases. Reversely if the collectors are inclined the most influential parameter is the clearness index.

• Note that the extraterrestrial solar irradiation (Ier) is superior in December than in June, due a weaker distance from the Sun, which explains the better result in December than in June, in the inclined collectors configuration.

Conflicts of Interest

The author declares no conflict of interest regarding the publication of this paper.

References

[1] Solargis (2020) Download Solar Resource Maps and GIS Data for 200 + Countries and Regions:
https://solargis.com/maps-and-gis-data/download/world
[2] IRENA (2021) Utility-Scale Solar and Wind Areas—Mauritania.
https://www.irena.org/-/media/Files/IRENA/Agency/Publication/2021/Jun/IRENA_utility_solar_wind_Mauritania_2021.pdf
[3] Quandpartirpour.fr. Nouakchott Ouest: Météo, climat et quand partir.
https://www.quandpartirpour.fr/mauritanie/nouakchott-ouest-4042689/
[4] Seatemperature Info. Température de la mer à Nouakchott.
https://seatemperature.info/fr/nouakchott-temperature-de-leau-de-la-mer.html
[5] Wikipedia (2022) Ocean Thermal Energy Conversion.
https://en.wikipedia.org/wiki/Ocean_thermal_energy_conversion
[6] Marchand, P. (1985) L’énergie thermique des mers. Institut français de recherche pour l'exploitation de la mer, Brest.
[7] International Institute of Refrigeration (1981) Thermodynamic and Physical Properties of Ammonia R717: R717 Propriétés Thermodynamiques et Physiques de L'ammoniac. International Institute of Refrigeration, Paris
[8] Schmidt, E. (1969) Properties of Water and Steam in SI-Units. Springer Berlin, Heidelberg.
[9] Wikipedia (2022) Solar Thermal Collector.
https://en.wikipedia.org/wiki/Solar_thermal_collector
[10] Peuser, F.A., Remmers, K.-H. and Schnauss, M. (2005) Installations Solaires Thermiques—Conception et mise en oeuvre. Systèmes Solaires, Paris.
[11] Masdar. 15 MW Sheikh Zayed Solar Power Plant.
https://www.google.com/url?esrc=s&q=&rct=j&sa=U&url=https://masdar.ae/-/media/corporate/projects/downloads/sheikh-zayed-solar-power-plant/updated/15mw-sheikh-zayed-solar--power-plant.pdf&ved=2ahUKEwjGl9LD3fj4AhVIwIUKHSu8DcYQFnoECAIQAg&usg=AOvVaw1Yk2E1G_IU2-QuyC_eacAq
[12] Kane, M.A. (2012/2013) Etude de l’impact de la centrale solaire Seikh Zayed de 15 MW sur le système de production de la ville de Nouakchott. Institut International d’Ingénierie, Ouagadougou.
[13] Soler, R. (2019) L’énergie solaire: Des fondamentaux aux technologies d’aujourd’hui et de demain. Lavoisier, Paris.
[14] Sidibba, A.O., Ndiaye, D., Bouhamady, S. and EL Bah, M.O. (2019) Characterization and Modeling of Solar Radiation on the Ground, Application to the Estimate of Solar Potential Available on the Coast of Nouakchott. OAJ Materials and Devices, 4, Article 1702.
https://doi.org/10.23647/ca.md20191702
https://www.researchgate.net/publication/331319919_Characterization_and_modeling_of_solar_radiation_on_the_ground_application_to_the_estimate_of_solar_potential_available_on_the_coast_of_Nouakchott

Copyright © 2023 by authors and Scientific Research Publishing Inc.

Creative Commons License

This work and the related PDF file are licensed under a Creative Commons Attribution 4.0 International License.